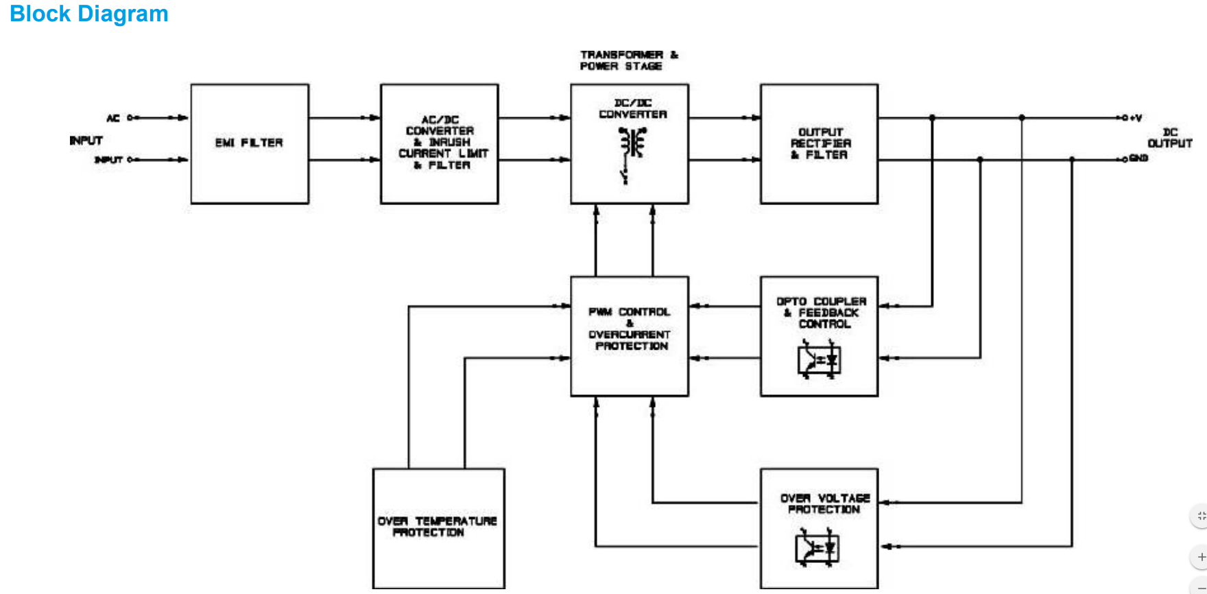
新的面板安装电源是世界上最大的电源制造商和解决方案供应商之一达美航空的最新产品。该产品范围提供了一个24V的标称输出电压,一个较宽的温度范围从-10°C到+70°C和一个高度可靠的最小保持时间。最先进的设计是为了承受恶劣的工业环境。使该产品脱颖而出的是其轻质的全铝车身设计,根据IEC60068-2,可以承受冲击和振动。达美航空的面板安装电源也提供过电压和过载保护。采用较宽的输入电压范围设计,它是兼容的全球。该输入还包括来自125-375Vdc的直流工作电压。最重要的是,这种优秀的设计和质量并没有一个很大的价格标签。
亮点与特色
- 全球通用交流输入范围 85Vac 至 264Vac 功率不降级
- 铝制外壳和底盘全方位防腐蚀
- MTBF > 700,000 hrs Telcordia SR-332
- 过压 / 过电 / 过热保护
- 通过 IEC/EN/UL 62368-1 认证
- 符合 IP20 (PMC-24V150W1AJ)
输出电压
24V
输出功率
150W
输出电流
6.25A
输入电压范围
85-264Vac
尺寸 (L x W x H)
178 x 97 x 38 mm
7.01” x 3.82” x 1.50”
重量
0.48 kg (1.06 lb)
最后订购日期: 1-Oct-2022
最后出货日期: 31-Dec-2022
取代机种: PMT-24V150W2BA / PMT-24V150WCAC
简体中文
English
Russian
全国服务热线









