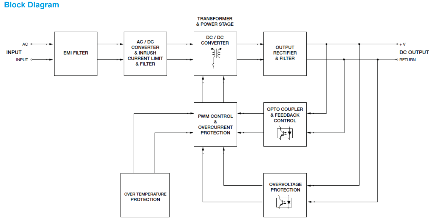
新的PMT系列面板安装电源是来自世界上最大的电源制造商和解决方案供应商之一的最新产品。第一系列PMT产品将提供24V的标称输出电压,其工作温度范围为-10°C至+70°C,并可承受冲击和振动要求(分别符合IEC60068-2-27和IEC60068-2-6)。除了过压和过载保护等功能外,Delta的PMT系列面板安装电源也不同于许多其他品牌在相同的价格水平上。PMT系列是为成本竞争的市场设计的,而不影响组件的质量和产品规格。该系列产品的预期使用寿命为10年,其输出功率不会从90Vac降至264Vac。该多功能系列有三种不同的连接器选项(端子块、前端和线束),也可以转换为L框架(PML)或开放框架(PMB)类型的电源,以满足不同的应用需求。
亮点与特色
- 全球通用交流输入电压范围
- 输入电压 90Vac 至 264Vac 功率不降级
- MTBF > 700,000 hrs Telcordia SR-332
- 短路 / 过压 / 过负载 / 过温保护
- 万能连接器选项(标准型端子台,朝前型端子台,线束型连接器)
输出电压
24V
输出功率
50W
输出电流
2.09A
输入电压范围
85-264Vac
尺寸 (L x W x H)
98 x 98 x 38 mm
3.86” x 3.86” x 1.50”
重量
0.24 kg (0.53 lb)
简体中文
English
Russian
全国服务热线











