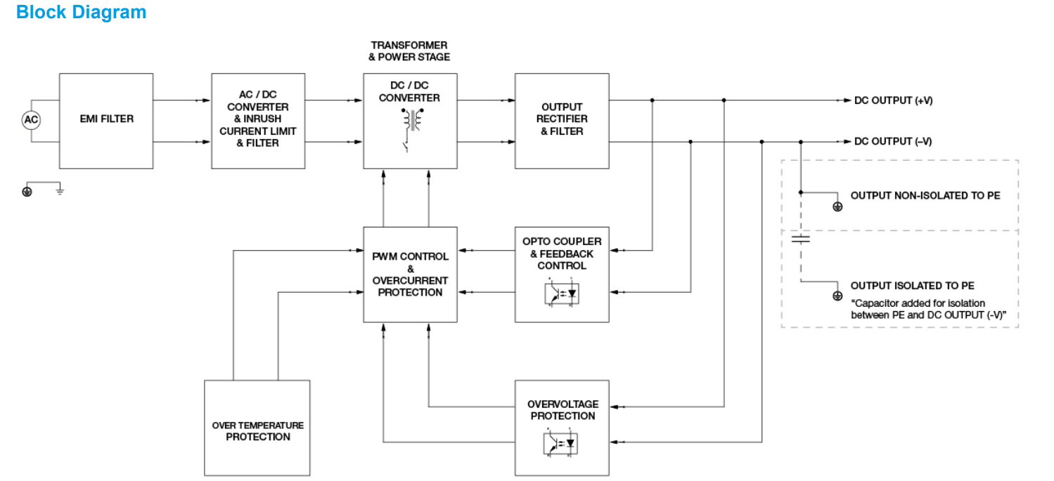
PMH-24V50WCA☐提供从85Vac到264Vac的通用输入,标称输出电压为24V。高效的冷却结构可以从-30°C到70°C。PMH系列是专门为家用电器设计的,其安全批准包括IEC/EN60335-1和IEC/EN61558-2-16,以及IEC/EN/UL60950-1和IEC/EN/UL62368-1。此外,该产品符合EMC批准的EN/BSEN55014-1/EN/BSEN55014-2的家用电器,EN/BSEN61000-6-1/EN/BSEN61000-6-3的住宅环境,无需额外的EMI过滤器,并有几个连接器选项符合端子块、IP20、正面和门栅连接器。其他可用选项包括主接地和输出直流回路之间的隔离或非隔离(输出连接器上的-V引脚)
亮点与特色
- IEC/EN 60335-1、IEC/EN 61558-1 及 IEC/EN 61558-2-16 家用电器认证
- 全球通用交流输入电压
- -25°C 至 +50°C 全功率运行 @ 5000 米或 16400 英尺海拔高度
- 全防腐蚀铝制外壳
- 平均无故障运行时间 (MTBF) > 700,000 小时,Telcordia SR-332 标准
- 多种连接器选项:IP20、朝前型端子台及线束型连接器
- 通过 IEC/EN/UL 62368-1 认证
输出电压
24V
输出功率
50W
输出电流
2.1A
输入电压范围
85-264Vac
尺寸 (L x W x H)
98 x 97 x 38 mm
3.86” x 3.82” x 1.50”
重量
0.21 kg (0.46 lb)
简体中文
English
Russian
全国服务热线











