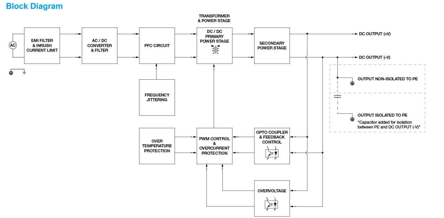
PMH-24V200WCB☐提供从85Vac到264Vac的通用输入,标称输出电压为24V。高效对流冷却结构可以在-30°C到70°C之间运行。PMH系列是专门为具有安全批准的家用电器设计的,包括IEC/EN60335-1和IEC/EN61558-2-16,以及IEC/EN/UL60950-1和IEC/EN/BSEN62368-1。此外,该产品符合EMC批准的EN55014-1/EN55014-2家用电器和EN61000-60-6-1/EN61000-6-3住宅环境,无需额外的EMI过滤器,并配有几种连接器选项,包括端子块、IP20、前端和线束连接器。其他可用选项包括主接地和输出直流回路之间的隔离或非隔离(输出连接器上的-V引脚)。
亮点与特色
- 通过家用电器认证、污染防护等级第 3 级,达到 IEC/ EN 60335-1、IEC/EN 61558-1 及 IEC/EN 61558-2-16 标准
- 全球通用交流输入电压
- -25°C 至 +45°C 全功率运行 @ 5000 米或 16400 英尺海拔高度
- 全防腐蚀铝制外壳
- 平均无故障运行时间 (MTBF) > 700,000 小时,Telcordia SR-332 标准
- 多种连接器选项:IP20、朝前型端子台及线束型连接器
- 通过 IEC/EN/UL 62368-1 认证
输出电压
24V
输出功率
200W
输出电流
8.33A
输入电压范围
85-264Vac
尺寸 (L x W x H)
190 x 97 x 38 mm
7.48” x 3.82” x 1.50”
重量
0.61 kg (1.34 lb)
简体中文
English
Russian
全国服务热线











