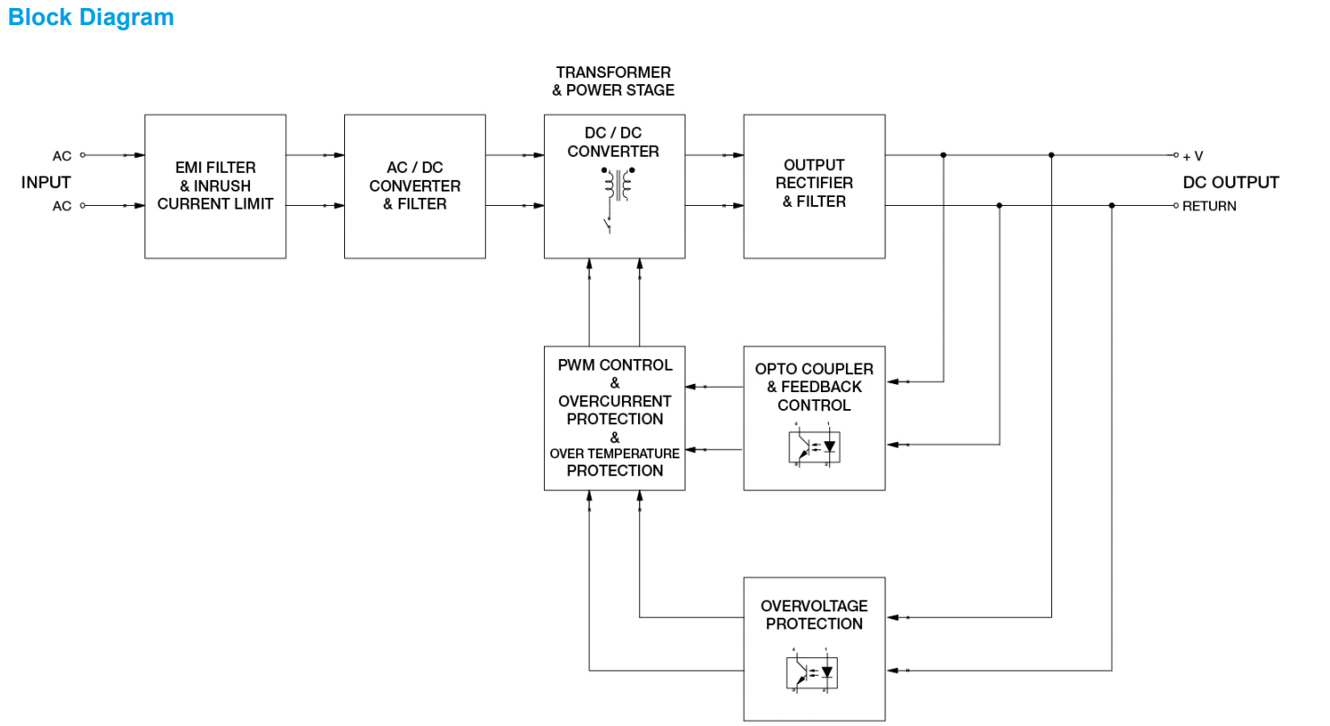
DRC-24V100W1AZ是ChromeDIN轨道电源系列的一部分,设计用于家庭汽车和餐饮行业的紧凑型机柜。达美航空的铬DIN铁路电源系列提供双隔离输入。这意味着不需要接地连接,从而导致低漏电流。该产品提供的通用输入电压范围为90-264Vac,且较宽的温度范围为-25°C至71°C。Chrome系列通过了IEC60950-1、IEC/EN/BSENUL62368-1和UL508的安全标准认证。NEC2级和有限电源(LPS)批准可为该产品。
亮点与特色
- Class II, 双重绝缘 (毋须接地)
- 全球通用交流输入电压、可达 55°C 满载
- 全输入电压范围无功率降额
- 效率高达 89.0% @ 115 Vac & 230 Vac
- 适用于小型机柜
- NEC Class 2 / 限功率电源(LPS)认证
- 符合谐波电流 IEC/EN 61000-3-2, Class A 标准
- IEC/EN/UL 60950-1, IEC/EN/UL 62368-1 與 UL 508
输出电压
24V
输出功率
91.2W
输出电流
3.8A
输入电压范围
90-264Vac
尺寸 (H x W x D)
91 x 89.9 x 55.6 mm
3.58” x 3.54” x 2.19”
重量
0.35 kg (0.77 lb)
简体中文
English
Russian
全国服务热线










