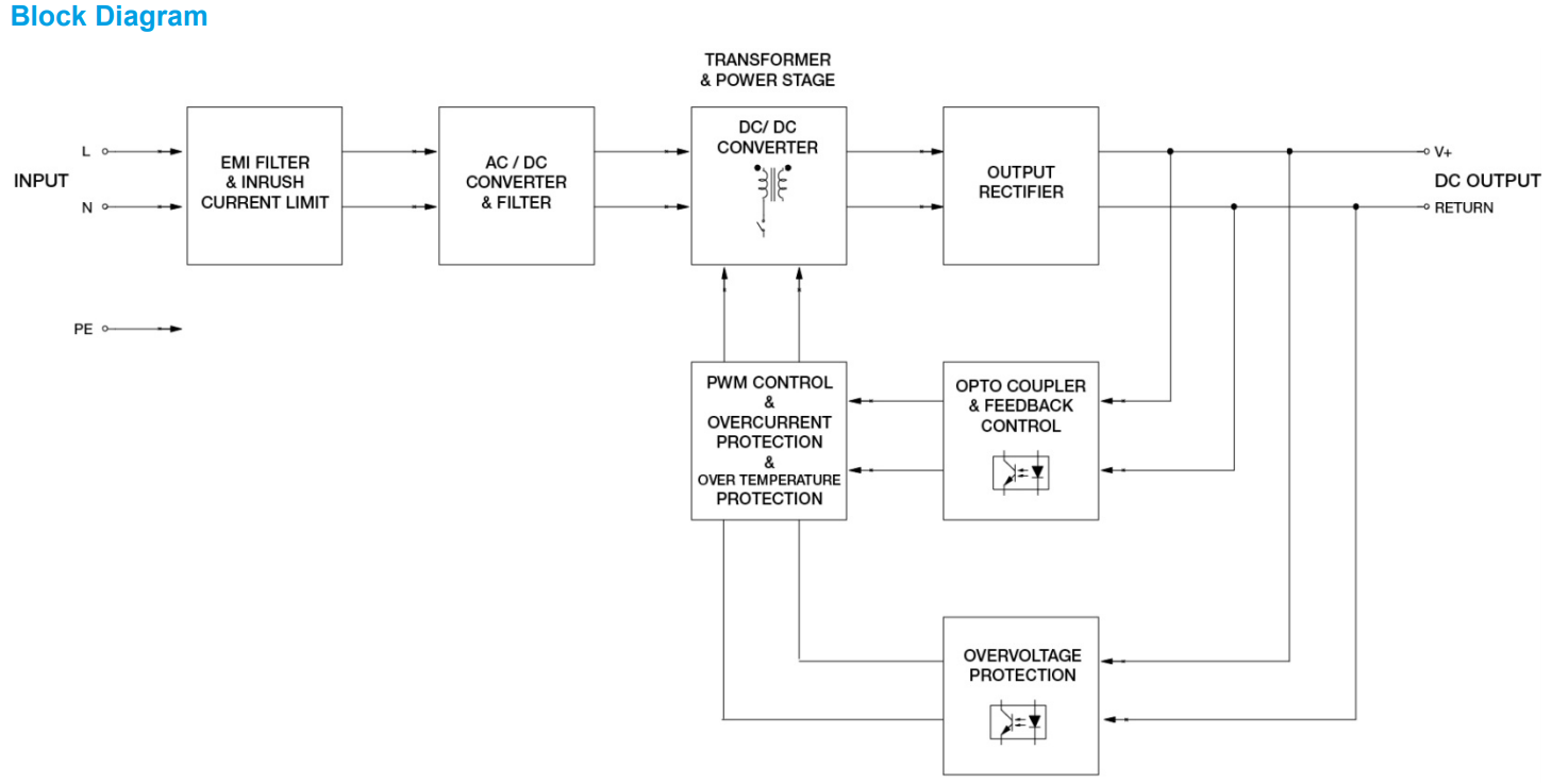
DRP-24V48W1AZ的额定功率为48W,输出电压为24V。它坚固的塑料外壳有一个紧凑的车身,只有32毫米宽,运行在一个宽的温度范围从-20°C到70°C。与它的CliQ前辈一样,DRP-24V48W1AZ配备通用交流输入,符合主要工业标准,如UL508(工业控制设备安全)、EN55011(工业、科学和医疗(ISM)射频设备的EMI)和EN61000-6-2(工业环境免疫)的EMS。为了获得更广泛的应用兼容性,该产品还根据IEC/EN/UL60950-1和IEC/EN/UL62368-1音频/视频、信息和通信技术设备获得了ITE(信息技术设备)标准的认证。
亮点与特色
- 全球通用交流输入电压范围
- 全输入电压范围无功率降额
- 坚固紧凑设计(抗振动 5G,防震 30G)
- 符合谐波电流 IEC/EN 61000-3-2, Class A 标准
- 大幅度运行温度范围 -20°C 至 70°C
- 过压 / 过流 / 过温 / 短路保
- 通过 IEC/EN/UL 62368-1 认证
输出电压
24V
输出功率
48W
输出电流
2A
输入电压范围
85-264Vac
尺寸 (H x W x D)
100 x 32 x 100.6 mm
3.94” x 1.26” x 3.96”
重量
0.22 kg (0.49 lb)
最后订购日期: 1-Oct-2022
最后出货日期: 31-Dec-2022
取代机种: DRL-24V75W1AZ
简体中文
English
Russian
全国服务热线










