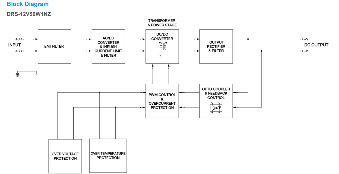
超紧凑且价格极具竞争力的Delta Sync DIN Rail DRS-12V50W1NZ电源是为工业应用而设计的,需要高度可靠的电源,必须适合小空间。同步系列采用通用交流输入范围,提供高达55°C的全功率。输出电压在12-15伏之间可调,可支持高达3000微法拉的负载电容。绿色LED指示存在输出。该设计根据IEC/UL 60950-1、IEC/EN/UL 62368-1信息技术设备(ITE)和UL 508工业控制设备(ICE)进行认证。该系列产品还完全符合RoHS指令(EU)2015/863的环保要求。NEC 2级和有限电源(LPS)认证可用于本产品。
亮点与特色
超紧凑的尺寸和高达3.0 KVac的电流隔离
通用交流输入电压范围和-10°C至+55°C的全功率运行
效率高达89.0%
264伏交流电压下的低接地泄漏电流<0.5毫安
内置DC OK继电器触点选项可用
在-40°C下进行极低温冷启动
NEC 2级/有限电源(LPS)认证
根据IEC/EN/UL 62368-1认证

简体中文
English
Russian
全国服务热线










